car ac hoses diagram
| Repair Guides | Routine Maintenance | Hoses | AutoZone.com. 17 Pics about | Repair Guides | Routine Maintenance | Hoses | AutoZone.com : Australian Auto Airconditioning, 2013 Nissan Altima Pressure Control Solenoid B Location ~ Perfect Nissan and also Heater & A/C.
| Repair Guides | Routine Maintenance | Hoses | AutoZone.com

autozone hoses
2001 GMC Sierra Heater Core: Coolant Leaking From Tube Under Ac

gmc sierra heater 2001 core module tube ac screws hvac nuts mounting remove ground 2carpros under
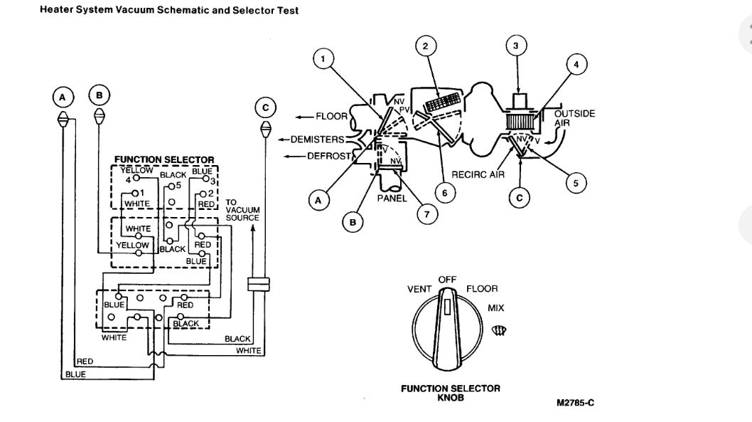
Heater Control Valve Hose Diagram: My Vehicle Blows Hot Air

control valve heater diagram hose sponsored links air vehicle
[FM_3658] Water Hose Diagram 2000 Volvo S70 Free Diagram
![[FM_3658] Water Hose Diagram 2000 Volvo S70 Free Diagram](https://static-resources.imageservice.cloud/3844248/98-v70-t5-replacing-the-coolant-hoses-in-pics-volvo-forums.png)
coolant v70 hoses s70 cooling
| Repair Guides | Routine Maintenance And Tune-up | Hoses | AutoZone.com

system cooling engine flow suzuki hose samurai repair 1989 locations hoses guide autozone sidekick fig 3l 6l engines 1998 1986
Heater Hose Routing

hose heater mustang routing core 1966 200 mach wire which sprint photobucket carb spacer loudly buzzing where correct firewall
Australian Auto Airconditioning

hose lines air layout refrigerant hard
The Heater Isn't Working In My Car . How Can I Tell If I Need To

heater hoses hose core working leaking engine isn cooling
| Repair Guides | Engine Mechanical | Engine | AutoZone.com

autozone repair engine
1969 Galaxie Vacuum Diagram - Ford Muscle Forums : Ford Muscle Cars

diagram galaxie 1969 vacuum ford sigpic
Vintage Air Gen IV "Sure Fit" Air Conditioner (AC) Installation Thread

air bronco routed hoses connections until final ready re
Car Engine Cutaway Stock Illustrations

engine section v6 cross motor cutaway cut exploded illustration engines toyota isometric illustrations system configuration sectioned cylinder diagrams cooling hybrid
Automotive Cooling Image & Photo (Free Trial) | Bigstock

cooling diagram system radiator automotive infographic hoses process coolant flow parts air thermostat fan tank showing road vw mechanical truck
Vintage Air Gen II Mini Install - Heat & AC - The Classic Zcar Club

ac air hose gen routing mini heat ii
2013 Nissan Altima Pressure Control Solenoid B Location ~ Perfect Nissan
vacuum hose hoses nissan failing check diagram ford replace explorer altima gauge 2000 symptoms advice bad pressure control location idle
Vacuum Schematic | Geralds 1958 Cadillac Eldorado Seville, 1967

vacuum cadillac 1967 eldorado schematic control climate automatic line diagram 1968 heater seville blower deville lincoln worst hell case continental
Heater & A/C

heater hose routing
| repair guides. System cooling engine flow suzuki hose samurai repair 1989 locations hoses guide autozone sidekick fig 3l 6l engines 1998 1986. Vacuum cadillac 1967 eldorado schematic control climate automatic line diagram 1968 heater seville blower deville lincoln worst hell case continental